香港直郵,香港e特快,奢侈品直郵,化妝品直郵
中秋國慶雙節快樂,祝愿我們的祖國繁榮昌盛,國泰民安,祝大家闔家幸福,健康快樂!
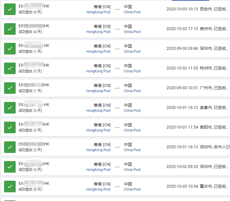
大家關心的大陸國慶黃金周,還能不能正常郵寄?
香港只放兩天假,那香港直郵還能正常嗎?
當然大陸節日期間,很多直郵線路還是有一定影響的,有些cc線路類可能要8號以后才能正常,但是我們的香港e特快是完全不受影響的,節日期間完全正常清關,派送。


上圖大家可以看到,節日第一天大家還都在路上堵車的時候,我們的貨物都已經正常清關了,很多貨也在節日期間正常派送了。
節日期間,香港e特快直郵大陸的貨物完全正常清關和派送,時效基本沒有太大變化。香港直郵內地完全是正常的。
紅旗速運香港倉,3號正常上班,4號周日正常休,5-8號正常上班收發貨。節日期間各種促銷直郵完全可以保障!
節日期間香港e特快直郵服務不打折,紅旗速運持續為您提供專業便捷的直郵服務。更多關于香港直郵方便咨詢可以關注紅旗速運官網和公眾號。

香港憑借免稅港地位和密集的國際航班,成為跨境物流的黃金樞紐。
E特快它最大的優勢在于可以選擇全部包裹在廣州清關,然后派送至
從個人海淘的衣服、鞋、包、化妝品,到保健品、食品、日用品,甚
大包裹:別試圖把整個米蘭時裝周塞進一個箱子!e特快建議單件包
無論是電商包裹、海外海淘,還是鞋服箱包、化妝品、保健品,香港